Szállítási költség ajánlatkérés alapján!

GEO AGF 220

Szárzúzó biztonsági szeleppel

Rövid szállítási határidővel rendelhető termék!
1.419.719 Ft+ÁFA

Termékkód: 9000200

Termék leírás

GEO AGF vízszintes tengelyű, hidraulikus oldalmozgatással és dőlésszög állítással szerelt lengő zúzókalapácsos szerelt szárzúzó - mulcsozó - fűnyíró gépek. Hátsó függesztésű, kardántengely meghajtású. Az ideális munkagép árokpartok, útpadkák, gyomos, gazos területek, gyümölcsösök tisztítására és bokrok, sövények vágására. 50-80 LE teljesítményű traktorokhoz ajánlott.

A beépített biztonsági szeleppel ellátott eszköz esetén a szelep megvédi az eszközt akadályba történő ütközés esetén.

Vasöntvény házú, erősített hajtóműve fix áttételű, szabadonfutóval szerelve. Oldallehajtása ékszíjas kivitelű. A talajkövetés és vágási magasság a kétoldali csúszótalpakkal, és a csapágyazott, állítható rögzítésű acélhengerrel biztosított. Elektronikusan kiegyensúlyozott forgórészének magas fordulatszáma a tökéletes vágás biztosítéka. A biztonságos munkavégzést CE szabvány szerinti védőburkolatok szavatolják.

Kapcsolt termékek

Starex FMXH szárzúzó kalapács készlet
Raktárról azonnal elérhető
26.528 Ft+ÁFA
Starex AGX-AGF hajtómű szárzúzóhoz ellentétes forgásirányú
Raktárról azonnal elérhető
158.562 Ft+ÁFA
Starex FGX rögzítő csavar készlet
Raktárról azonnal elérhető
3.017 Ft+ÁFA

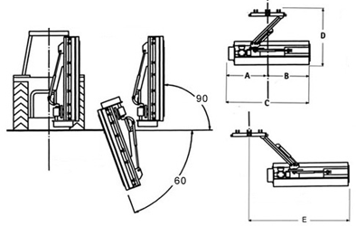
Ábra méretekkel

Méretek műszaki rajz

Műszaki adatok

Vágási szélesség :2.200 mm
Szélesség (A) :860 mm
Szélesség (B) :1.620 mm
Teljes szélesség (C) :2.680 mm
Zárt méret (D) :1.400 mm
Teljes kinyúlás (E) :3.000 mm
Gépigény :50-80 LE
Kalapácsok :22 db
Tömeg :710 kg
Ékszíjak száma :4 db

Széria további típusai

TipusVágási szélességSzélesség (A)Szélesség (B)Teljes szélesség (C)Zárt méret (D)Teljes kinyúlás (E)GépigényNettó ár
AGF 1401.400 mm860 mm820 mm1.680 mm1.400 mm2.000 mm50-80 LE1.159.321 Ft+ÁFA
AGF 1601.600 mm860 mm1.020 mm1.880 mm1.400 mm2.200 mm50-80 LE1.219.293 Ft+ÁFA
AGF 1801.800 mm860 mm1.220 mm2.080 mm1.400 mm2.400 mm50-80 LE1.254.374 Ft+ÁFA
AGF 2002.000 mm860 mm1.420 mm2.280 mm1.400 mm2.600 mm50-80 LE1.372.055 Ft+ÁFA
AGF 2202.200 mm860 mm1.620 mm2.680 mm1.400 mm3.000 mm50-80 LE1.419.719 Ft+ÁFA

Videó

Hasonló termékek

Geo - gyártó logó Geo AGF 220 szárzúzó biztonsági szeleppel
Rövid szállítási határidő
1.419.719 Ft+ÁFA
Deleks - gyártó logó Deleks DRAGON 200 rézsű vágásra alkalmas szárzúzó
Rövid szállítási határidő
1.774.621 Ft+ÁFA
Geo - gyártó logó Geo AGF 200 szárzúzó biztonsági szeleppel
Rövid szállítási határidő
1.372.055 Ft+ÁFA

 

 

Starex Pro Kft.
2100-Gödöllő, Kőrösi Csoma Sándor u. 42.
Telefon/Fax: +36 28/412 371
E-mail: info@starex.hu